首页
数据中心
产品服务
解决方案
投资者关系
关于我们
搜索
中国重要的
数据中心和云计算服务提供商
ICP备案

一、备案系统注册及密码重置流程

1、新用户注册

备案登录网站: https://www.ghxwicp.com/beian/ ,https://220.231.20.227/beian/(请粘贴至浏览器中打开,请使用谷歌浏览器)  

1)点击 “立即注册”

2)填写账号信息,注册成功

3)登陆后的主页面可以查询备案流程图等信息

2、已注册用户登录

登录自助网站备案平台 https://www.ghxwicp.com/beian/ ,https://220.231.20.227/beian/(请使用谷歌浏览器)。

输入账号、密码和验证码,点击登录:

3、重置密码

首页点击【重置密码】按钮,准确填写注册信息中的真实姓名、邮箱、手机号,即可重置新密码。


二、ICP新增备案-首次备案流程

适用于首次申请ICP备案的用户。

网站主办者登录后,点击左侧菜单“ICP管理-备案管理”进入“主体备案管理”页面,如下图所示:

点击 进入主体信息填报页面,输入准确的主体信息,点击下一步:

跳转至网站信息填报页面,输入准确的网站信息,IP 地址填写时请注意IP 地址的准确性和完整性。点击下一步:

在“提交核验单”页面最后,点击


三、ICP新增网站

适用于主办单位已有其他网站做过备案,但需要再添加新网站。

网站主办者登录后,点击左侧菜单“ICP管理-备案管理”进入“网站备案管理”页面,如下图所示:

点击“新增网站”进行新增网站操作,根据实际情况选择是否变更主体,填写主体相关信息,点击下一步:(若本地有主体信息,页面会自动显示部分信息)

填写网站信息,点击下一步:


在“提交核验单”页面最后,点击“上传提交审核”:


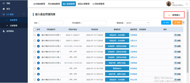
四、ICP接入备案流程

适用于已在其他接入商完成ICP备案的网站,需要变更接入商的用户。

网站主办者登录后,点击左侧菜单“ICP管理-备案管理”进入“接入备案管理”页面,如下图所示:

点击 新增接入 进行新增接入操作,根据实际情况选择是否变更主体,填写主体相关信息,点击下一步:

填写网站信息,点击下一步:

在“提交核验单”页面最后,点击 上传提交审核 :

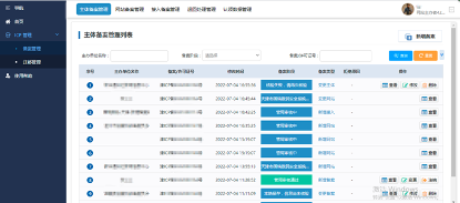
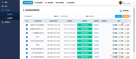
五、ICP变更备案流程

1、变更备案

适用于需要同时变更主体信息和网站信息的用户。

网站主办者登录后,点击左侧菜单“ICP管理-备案管理”进入“主体备案管理”页面,选择备案通过的数据,点击变更:

点击变更主题网站信息 ,变更备案信息:

修改主体信息,点击下一步:

修改网站信息,点击下一步:

在“提交核验单”页面最后,点击上传提交审核:


2、变更主体

适用于网站信息不变更,只有主体信息需要变更的用户。

网站主办者登录后,点击左侧菜单“ICP管理-备案管理”进入“主体备案管理”页面,选择备案通过的数据,点击变更:


点击仅变更主体信息:

在弹出页面中修改主体信息,点击下一步:

跳转至网站信息页面,勾选主体下任意网站点击确定,点击下一步:

在“提交核验单”页面最后,点击上传提交审核


3、变更网站

适用于网站信息需要变更的用户。

网站主办者登录后,点击左侧菜单“ICP管理-备案管理”进入“网站备案管理”页面,选择备案通过的数据,点击变更网站:

点击下一步:

选择变更的网站,点击确定,进行修改:

在“提交核验单”页面最后,点击上传提交审核。


4、变更接入

适用于仅变更IP地址的用户。

网站主办者登录后,点击左侧菜单“ICP管理-备案管理”进入“接入备案管理”页面,选择备案通过的数据,点击变更接入:



点击下一步:

选择变更接入的网站,点击确定:

修改接入信息后,点击下一步:

在“提交核验单”页面最后,点击上传提交审核


六、ICP备案迁移流程

适用于域名已备案在A主体下,需要把域名从A主体迁移至B主体下。

网站迁移至少需要满足的三个条件:

条件1:该网站下只备案了这一个域名;

条件2:域名备案的A主体已经在我公司备案系统中完成了接入备案;

条件3:做网站迁移时,需要在A公司账户下操作。

目前可以做网站迁移的地区有:上海、广东,其他地区请咨询备案专员。

网站主办者登录后,点击左侧菜单“ICP管理-迁移管理”,点击“网站迁移”进入“网站迁移”页面,根据提示步骤录入数据:

点击“网站迁移”进入“网站迁移”页面,输入准确的主体信息,点击下一步:

选择被迁移的网站,点击确定:

点击下一步:

在“提交核验单”页面最后,点击上传提交审核

全栈数字基础设施综合服务提供商

联系我们

010-64181150
在线留言

在线留言

Copyright © 2024 北京光环新网科技股份有限公司 版权所有 增值电信业务经营许可证编号:京B2-20070018、A2.B1-20070252